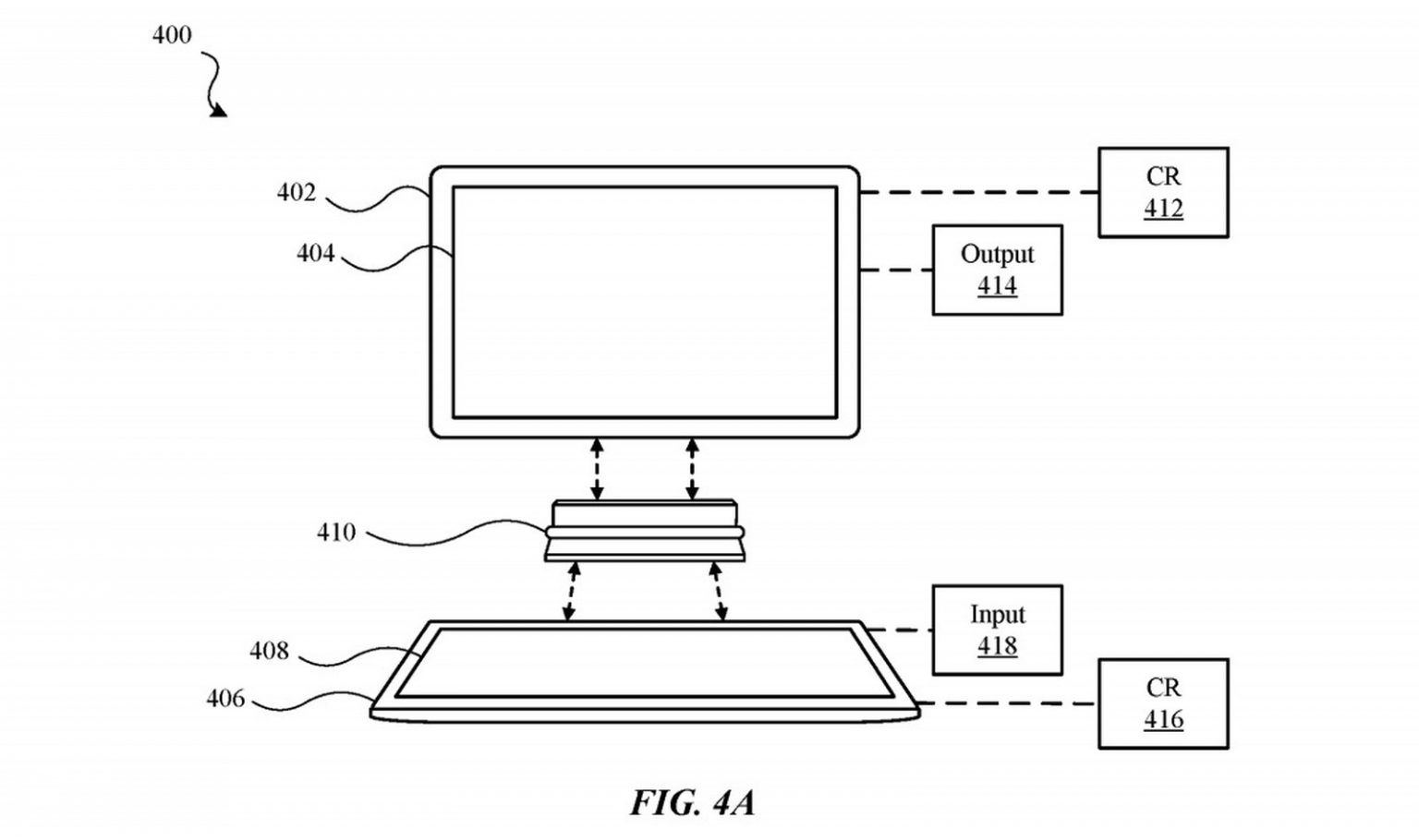
Според нов патент на Apple, публикуван днес от Службата за патенти и търговски марки в САЩ, компанията подготвя необичаен аксесоар, благодарение на който ще бъде възможно да се свържат два iPad-a в своеобразен лаптоп.
Патентът предполага, че ще бъде възможно да се свържат два iPad-а, и не е необходимо устройствата да са еднакви: таблет с по-голям диагонал, може да се използва като дисплей, или обратно. Подреждането на устройствата се променя по желание на потребителя: хоризонтална + вертикална ориентация, хоризонтална + хоризонтална и т.н.
Ева ли скоро ще видим този необичаен аксесоар, който ще преврърне два iPad-a в лаптоп – това е само патент, който може да си остане само патент, въпреки че бих искал този аксесоар да бъде реализиран.
Бих искал да вярвам, че аксесоарът все пак ще бъде представен, а като основен дисплей ще може да се използва не само таблет, но и смартфон.



