Със сигурност не малко фенове си спомнят за времената, когато телефоните на LG бяха хит, а както знаем след пика следва спускане надолу. В началото на трудната 2020г. на изложението за потребитеска електроника – изпълнителния директор на компанията Brian Kwon – разтърси аудиторията с обещанието 2021г. да е повратна в историята на мобилния бизнес на компанията, като това ще се случи в условията на силна конкуренция, с промяна на продуктовите линии, и с добавяне на нови устройства в премиум сегмента.
На по-късен етап узнахме за проект за реализиране на телефон с гъвкав дисплей с име “Project B”, който в началото на юли вече беше в напреднала фаза, с цел реализация на телефона в началото на 2021г., може би за CES 2021 или MWC 2021. Името Project B е взаимствано от името на изпълнителния директор на компанията Квон Бонг-сеок.
За момента – най-голямото предизвикателство при този тип телефони е дисплеят и за този компонент – LG си партнират с BOE.
В изминалите дни бе оповестен нов патент на LG за телефон с гъвкав дисплей, който разкрива още детайли как може би ще изглежда революционния телефон на компанията.
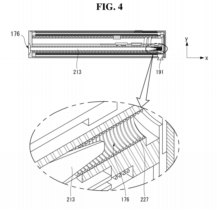
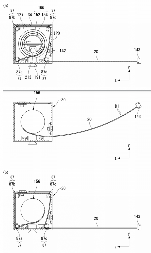
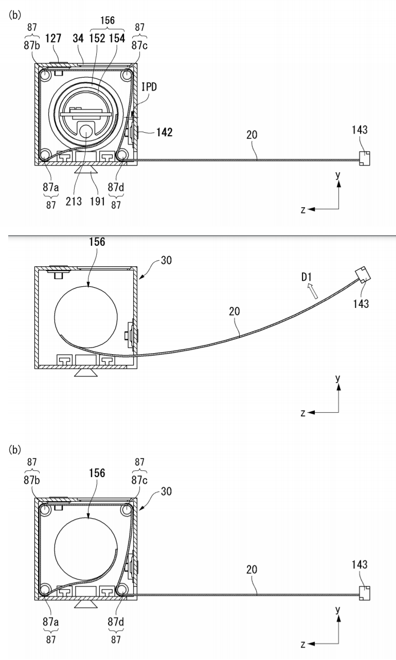
И този и предходният патент, за който писахме в публикацията по-горе – са с концепция за дисплей, който се навива на руло. Електронното устройство е с правоъгълен корпус с въртяща се вътрешна рамка, в който се съхранява широк навиващ се дисплей.
Това е OLED панел, но LG си запазват възможността да използват и други видове дисплейни панели, като LCD, PDP или FED.

От приложените схеми е видно, че дисплеят може да се изтегля и прибира, както с бутон, така и ръчно. Бутонът за захранване е в горната част на дисплейното устройство. Липсват допълнителни подробности за интерфейса и опциите за свързване. Вероятно устройството ще може да се свърва с интернет и други интелигентни устройства, като смартфон или телевизор .
В горната част е предвиден и светопропускащ стъклен прозорец, който е снабден с поддисплей. На този малък, удължен дисплей вероятно ще се визуализират известия.
Освен Power бутона и бутоните за разгъване и сгъване на дисплея, има и два бутона с други функции, включително за контрол на силата на звука. Дисплейното устройство на LG има камера, която е поставена отдолу и може да заснема както снимки, така и видеоклипове.

Зигзагообразната линия индикира степените, до които дисплеят ще може да се отваря. Съответно, дисплеят ще бъде активен само в отворената/разгънатата си част, а съотношението на страните автоматично ще се адаптира към размера на разгънатия екран.
Стилус
За революционното си устройство LG са предвидили и стилус, който да се помества странично. Съдейки по изображенията, общата ширина на дисплейното устройство е с около един сантиметър по-голяма от самата писалка. Така че устройството на LG изглежда е доста компактно, и удобно за носене.
Нови поли-цилиндрична батерия
За това устройство – LG предвиждат и нов тип полуцилиндрична батерия, която ще се помества във вътрешната рамка. Плоската част на батерията контактува с плоската част на вътрешната рамка.
Корпусът не е капсулован и може да се разглобява и подменя, както при компютър, което изключително улеснява подмяната и / или ремонта на части от устройството. Също така, при повреда на корпуса, можете да се подмени само той, вместо цялото дисплейно устройство – което, разбира се, ще спести доста средства.
Има и втори дизайн с по-заобленвид – с една извита повърхност, върху която е поставен поддисплея. Този модел включва и писалка, която може да се съхранява в страни. Камерата също е монтирана в долната част, а бутонът за захранване е преместен отстрани.
LG Electronics наистина са помислили за всичко с този патент. От процеса на сглобяване, през това как ще функционира, и дори за възможностите за ремонт – като всичко е подробно документирано (по-горе има линк към патента).
Ще се завърнат ли LG в играта при големите в бранша? Има ли бъдеще това устройство?



