Концепцията за модулни смартфони, която изглеждаше, че ще промени бъдещето на мобилната индустрия, днес вече е забравена. Оказа се невъзможно да се създаде такъв дизайн, който да позволи бърза смяна на хардуерни компоненти, а перспективата да се създава различен софтуер за специфични комбинации, изплаши производителите, и тази концепция много бързо бе изоставена. В крайна сметка, трябваше да се свърши ужасно много работа, без никаква гаранция за успех. Дали обаче тази концепция няма да сработи при модулни часовници?

Apple не изключва реализацията на Apple Watch с възможност за разширяване на функциите. Компанията превъплати тази своя идея в нов патент, който е регистриран в Американското ведомство за патенти и търговски марки. За разлика от идеите за модулни смартфони, които трябваше да предлагат възможност за премахване и замяна на хардуерни компоненти като камери, памет и процесор, Apple предлагат на потребителите нещо съвсем различно. Те няма да заменят едни компоненти с други, а ще могат да ги добавят към устройството. Нещо като Moto Mods на Motorola.
МОДУЛЕН APPLE WATCH

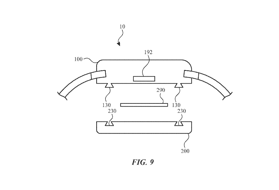
Kонцепцията, която Apple описват, е много подобна на тази, която бе реализирана от Motorola. Идеята на компанията от Купертино е, потребителите да използват външни модули, които ще бъдат прикрепяни към капака на часовника. Това е почти единствената опция, тъй като именно там се намира зоната за контакт, за да се сдвои самия часовник с допълнителен модул. По този начин е възможно да се добавят към часовника онези функции, които според потребителите липсват, но в същото време не нарушават целостта на конструкцията, за да не се наруши и защитата срещу влага и прах.
И разбира се, тази идея има своите добри и лоши страни. От една страна, тези допълнителни модули, вероятно ще имат негативен ефект върху батерията, но от друга, ще е много лесно да се увеличи функционалността на часовника.
КАКВО НЕ Е КАКТО ТРЯБВА С МОДУЛИТЕ ЗА APPLE WATCH
Да не забравяме, че външните модули имат ограничения, които могат да разочароват мнозина.
Първо, инсталирането на допълнителни компоненти на долния панел, ще увеличи размера на часовника, като го направи по-дебел, а от тук и по-неудобен. Второ, всеки модул вероятно ще има само една конкретна функция без възможност за комбиниране на две или повече такива. И трето, закупуването на няколко модула, може да Ви струва дори повече от самия Apple Watch, което по принцип също не е без значение, a в Купертино би трябвало да са наясно с това.

