MacBook ще може да зарежда iPhone, iPad и Apple Watch безжично от тракпада или капака си.
Apple регистрираха два патента в Службата за патенти и търговски марки на САЩ, в които описват добавянето на двупосочно безжично зареждане към устройствата на компанията. Компанията работи по тази технология от 2016г.
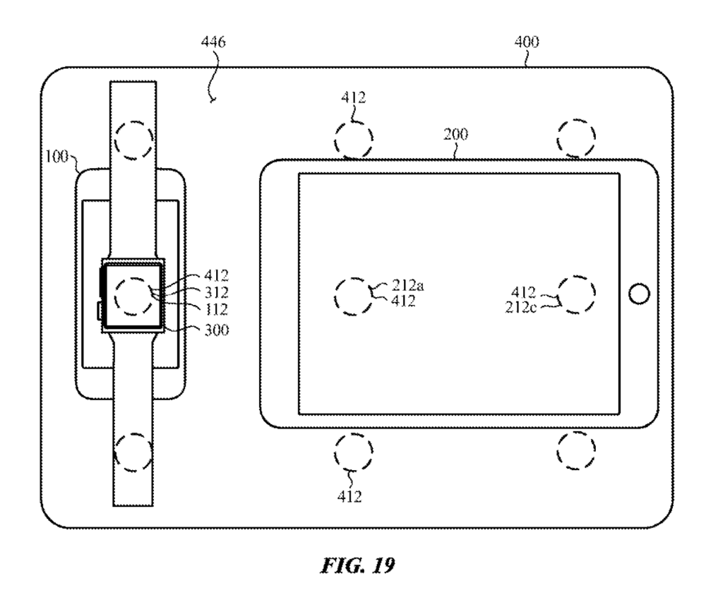
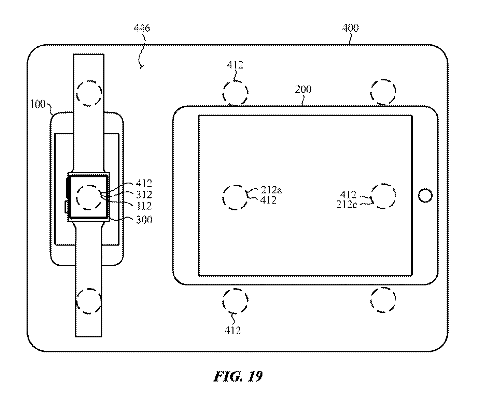
На предоставените чертежи се виждат намотки за индукционно зареждане на различни места – на тракпада и капака на MacBook, чрез които безжично да се зареждат устройства на компанията.
На визуализациите виждаме iPhone, iPad и Apple Watch – поставени на тракпада, когато е отворен, а също и на капака му, когато е затворен.

Изображение: Apple
Предвидена е и възможност устройствата да са поставени едно върху друго. Идеята на патентите не е тази технология да се ползва ежедневно, а само ако възникне ситуация с недостиг на захранващи адаптери, кабели или захранване, и в този момент устройствата са без заряд в батериите си.
В момента MacBook и iPad са изработени от алуминий, който не е съвместим с безжичното зареждане. За да бъдат реализирани тези два патента – ще следва устройствата да бъдат с други корпуси – дали пластмасови – предстои да узнаем, но би било хубаво ако обратното безжично зареждане бъде реализирано за iPhone. Водещите Android телефони зареждат безжично слушалки и часовници от години.








